四轴数控电火花穿孔机机床布局及组成部分
作者:苏州中航长风数控科技有限公司 | 来源:www.atlbasementsdecks.com | 浏览次数:
1.3四轴数控电火花穿孔机机床布局及组成部分
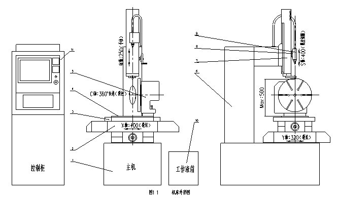
图1.1为机床外形图
图1.2为机床布局图

四轴数控电火花穿孔机本机床主要由床身1、X、Y轴拖板2、接液盘3、花岗石工作台4、数控分度头5、立柱6、主轴头7、Z轴滑块8、旋转头9、高、低压工作液系统10及数控电源箱11等部分组成。
1.3.1床身
数控电火花穿孔机床身为整个机床的基础,用于安装立柱及工作台等部件,它由四只地脚支承,用于调整机床的水平等。
1.3.2工作台
工作台安装在机床床身上,由纵座标X轴、横座标Y轴、C轴回转盘、工作液盘、花岗石台面等组成。纵横座标及回转盘的运动用以实现工件上各加工孔的定位;工作液盘用来回收工作液。花岗石工作台用来安装夹具及工件。花岗岩起绝缘作用。
1.3.3立柱
1.3.4主轴头
主轴头由W轴和S轴组成 ,安装在立柱上。W轴为手动轴,带动S轴和导向器上下运动以调整与工件之间的距离。S轴是电极伺服加工用轴。
1.3.5旋转头
旋转头装在S轴内的滑块上,由滑块带动上下运动,它实现电极的装夹、旋转、导电及旋转时高压工作液的密封引导等功能。
1.3.6工作液系统
工作液系统分高压、低压两部分。高压系统包括工作液架、柱塞泵和过滤器。它将工作液过滤并加压输送到旋转头。低压部分由水箱、电泵组成,起到储存和将工作液送至加工区侧冲的功能。
1.3.7数控电源箱
数控电火花穿孔机数控电源箱由数控系统、机床电器、高频脉冲电源三部分组成。数控系统控制机床各运动部件的运动和加工参数的选择,确定加工孔的点位和加工参数,并自动完成加工;机床电器接受数控指令并驱动各部件;高频脉冲电源为加工孔提供加工电源。
本文经线切割、穿孔机、快走丝线切割、线切割机床-苏州中航长风数控科技有限公司原创发布,未经书面许可不得转载,否则将追究法律责任。
公司旗下网站:www.atlbasementsdecks.comwww.skwedm.comwww.zhchangfeng.com