国内专业的电火花数控线切割、电火花穿孔机、电化学去毛刺、取断丝锥机的生产厂家,值得信赖。销售热线:13862082675
  网站首页   公司简介   企业荣誉   新闻资讯   产品展示   在线留言   联系我们  
 
售后服务
一、免费负责安装调试及培训人员;
二、产品实行三包服务一年,机床终身维修;
三、设备制造质量承诺:产品未达到技术标准,卖方包换,包退;
四、备件长期有偿优惠供应;
五、免费提供设备的软件技术升级服务.

苏州市联青机电工贸有限公司
联系人:马文斌 经理
电话:0512-61724576 
传真:0512-66678110 
手机:13862082675
QQ:602279683
E-mail:szzhcf@163.com 
公司网站:http://www.atlbasementsdecks.com
邮编:215132
地址:江苏省苏州市姑苏区西北街53号

 
新闻资讯 当前位置:首页 > 新闻资讯 > 技术文章

电火花线切割机床几何精度检测方法

作者:苏州中航长风数控科技有限公司 | 来源:www.atlbasementsdecks.com | 浏览次数:

一、XY运动的直线度是怎么保证的?

        首先应明确,某一轴的直线度是指它在两个平面的直线度。如X轴的直线度是指在XY平面上和XZ平面上直线度,这如同一条路即不左右弯曲也不得上下起伏。
        机床的托板是承载在导轨上的,所以导轨的平直度就决定运动的直线度。丢失直线度的原因有二,一是导轨本身状态的平直度,二是导轨安装基准面的平直度。高精度且状态稳定的导轨,托板和床身组合在一起才是保证直线度的根本条件。导轨,托板和床身的高低温和时效处理,目的也在于此。
        滚柱(钢珠)的不一致将导致受力点少或撬撬板现象也是显而易见的。
        要注意到,因丝杠的不规范的运动也会牵动导轨,比如丝杠的轴向与导轨不平行,丝杠与丝母的中心高不一致,丝杠与丝母间承受一个扭转力以及丝杠的弯曲等,都会在丝杠运动的同时,强推硬扛地干扰破坏了导轨的直线运动,这就是我们强调的要把丝杠、丝母、丝杠座和丝母座都做得精确规范的基本原因。
        不管是“V”形还是形,导轨和滚道上均不得沾染任何污物杂质,它不但影响导轨的运动的平直度,而且导致导轨的损毁和变形。导轨要求是一尘不染的,这是保养和维护机床,保持长久精度的守则之一。
X、Y轴运动的直线度的检测方法
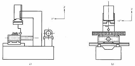
a)       XY(水平面)内EYX(如下a图)
b)      ZX(垂直面)内EZX(如下b图)

 
测量仪器:平尺、指示器和量块,或光学方法
检验步骤:指示器固定在头架上。
a)XY平面内放置平尺,使其与XY方向平行,指示器触及平尺。在整个测量长度上移动X Y轴并记下指示器读数。
b)ZXZY平面内按同样方法重复检查。
允许公差:a)b) 任意500测量长度上为0.015
 
二、XY运动的垂直度是怎么保证的?
        两轴的垂直度是建立在各自的直线度的基础上的,直线的误差会在垂直度测量时反映出来,数值叠加的结果使垂直度测量失实失准,所以是首先保证各自的直线度,再保证互相的垂直度。
        两轴的垂直度完全取决于中托板上的两组导轨的垂直度,装配时是把一组导轨固定在基准上,测量并调整待另一组导轨与基准垂直后,再行固定并配打销钉孔,从而把中托板上两组导轨的垂直度固定下来。这个装配和测量过程,即要追求操作的稳妥有效,还应该有意把精度提高一档,这个中间工艺指标的控制是非常重要的,因为不管是装机,修理或一段时间的实效,都会使这个精度变差,如果初始安装就把允许的误差值用足,那以后的精度就会超值失准了。比如某机床精度标准为0.02,则首次装配时的内控精度应是在0.012以下。重要部位的首装严控和销钉镙钉稳妥有效,加之导轨本身的平直精准,两轴的垂直度就有保证了。
        如同直线度一样,丝杠的工作状态也是影响垂直度的重要因素。与导轨定位面成一定夹角的任何一个外力,都将造成导轨的异动,因为导轨只是导轨,并没有夹死。所以一旦发现XY轴的垂直度超标,要认真判断是导轨自身的形变或错位造成的还是丝杠的运动干扰的。如果是导轨的导向作用所致,分别在几个位置使丝杠和丝母重复松开再紧固的适配过程,其超标的方向和数值应大体稳定的。如果是丝杠和丝母运动的干扰所致,将失去方向和数值的规律性。千万不可盲目把导轨的固定松开,把销钉拨掉,失去判断的任何操作都是无益的。一旦导轨的固定松开销钉拨掉,就必须重复前面所述首次。
任何测量调整都必须在导轨运动平稳之后再进行,如果突跳和无规律的扭摆,那是导轨太脏或异物,要坚决拭净润滑之后再进行调整,这是必须牢记的。
 
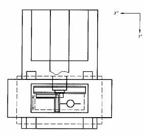
X轴运动和Y轴运动之间垂直度的检查
 
测量仪器:平尺、角尺和指示器
检验步骤:在工作台上调整平尺,使其与X轴运动平行,并将角尺紧靠在平尺上。指示器固定在头架上并使之触及角尺。在整个测量长度上移动Y轴并记下指示器读数。也可以只使用角尺,此时:
a)设置角尺使其长边与X轴运动平行;
b)检查Y轴运动与角尺短边之间的平行度。
如果需要,可以用平板来放置平尺和角尺。

允许公差:任意300测量长度上为0.02